Stupite u kontakt s nama

Telefon

Austrija

+43 (0)732 257700

Kontakt

Rado ćemo odgovoriti na vaša pitanja.

>Kontakt

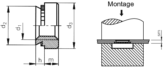
Self-clinching nuts for stainless steel and other sheet metals

SP-M5-1

Type SP (precipitation grade stainless steel)
High push-out and torque-out resistance. Available in different shank lengths.

Technical Specification

Thread d1

M5

Min. sm

1.0 mm

Hole-Ø in the sheet
+0.08
  0

6.40 mm

Material

Precipitation grade hardening stainless steel.

Use

Special nut suitable for sheet applications up to a sheet hardness of HRB 90.

3D-Data available

Order description

SP-M5-1

Max. d2

6.38 mm

d3 ±0.25

8.64 mm

m ±0.25

2.00 mm

Max. h

0.97 mm

Min. edge distance up to the hole centre

7.1 mm

Tools

Identify order numbers of PEMSERTER® tools (anvils and punches): Tooling Selector

Insertion machines